- 14 июня 2023
Ford запатентували унікальні колісні диски, розроблені спеціально для безповітряних шин. Їхня конструкція сильно відрізняється від традиційних коліс.

Про це повідомляє «Фокус» із посиланням на CarBuzz.
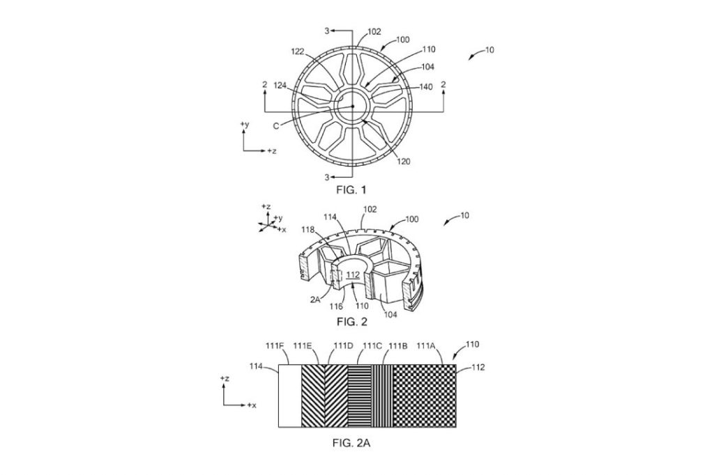
В Управлінні з патентів та товарних знаків США опублікували патент, в якому описуються колісні диски для безповітряних шин. У Ford працюють над цією технологією.
Наразі розробкою безповітряних шин займаються компанії Michelin та Goodyear. Вони вже демонстрували свої технології публіці.
Ford вирішили змінити конструкцію колісних дисків, щоб оптимізувати їх для безповітряних шин. Це дозволить швидко змінювати шини за потреби.

У патенті описується незвичайна конструкція колісних дисків, у яких спиці є гнучким елементом. Проте вони збережуть жорсткість завдяки серцевині.
Спиці поглинатимуть удар, тим самим знижуючи ймовірність пошкодження шини. У Ford упевнені, що така технологія може знайти масове застосування вже найближчими роками.
